Porsche cria motor que produz hidrogênio da própria água do carro
Porsche registra patente de motor que produz hidrogênio a partir da água do carro. Entenda como a tecnologia pode reduzir emissões.
NEWS
Equipe Seu Carro Usado
3/15/20262 min read


Imagine ligar o carro e ele usar a própria água do veículo para gerar hidrogênio e reduzir a poluição logo nos primeiros segundos de funcionamento. Parece coisa de filme futurista, mas é exatamente essa ideia que a Porsche está explorando em uma nova patente registrada recentemente.
A proposta da montadora alemã mostra que, mesmo com o avanço dos carros elétricos, ainda existem caminhos inovadores para tornar os motores a combustão muito mais limpos e eficientes.
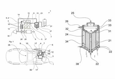
Como o motor da Porsche consegue produzir hidrogênio
A tecnologia descrita na patente utiliza um princípio conhecido da química chamado eletrólise da água. Basicamente, o sistema separa o hidrogênio do oxigênio presente na água para gerar gás hidrogênio.
No caso do projeto da Porsche, o próprio carro teria um pequeno gerador responsável por esse processo.
O funcionamento seria mais ou menos assim:
A água armazenada no carro serviria como base para o sistema
Um gerador faria a separação do hidrogênio por eletrólise
O hidrogênio produzido seria enviado ao motor
Esse gás ajudaria a reduzir emissões logo após a partida
Um detalhe curioso é que a patente sugere usar o reservatório do limpador de para-brisa como fonte de água, algo que tornaria a solução mais simples de integrar ao veículo.
Por que o hidrogênio ajudaria a reduzir a poluição
Quem já estudou motores sabe que o momento da partida é quando ocorre a maior emissão de poluentes. Isso acontece porque o catalisador ainda está frio e não consegue filtrar os gases corretamente.
É justamente nesse ponto que entra o hidrogênio.
Quando o motor é ligado, o hidrogênio seria injetado nos cilindros para ajudar a aquecer o catalisador muito mais rápido. Assim, o sistema de filtragem começa a funcionar quase imediatamente.
Na prática, isso pode reduzir significativamente:
Emissões de gases nocivos logo após a partida
Poluentes liberados em trajetos curtos
Impacto ambiental dos motores a combustão
Um “modo hidrogênio” antes da partida
Outro detalhe interessante citado na patente é a existência de um modo especial de funcionamento com hidrogênio.
Esse modo poderia ser ativado automaticamente antes do motor iniciar, preparando o sistema para reduzir emissões desde os primeiros segundos de funcionamento.
Ou seja, o carro poderia usar hidrogênio como um auxílio temporário, sem substituir completamente combustíveis tradicionais como gasolina ou diesel.
Isso significa que os motores a combustão vão continuar?
Apesar do crescimento dos carros elétricos, projetos como esse mostram que os motores a combustão ainda têm espaço para evoluir.
Montadoras tradicionais continuam investindo em tecnologias capazes de:
reduzir emissões
aumentar eficiência energética
prolongar a vida útil de motores convencionais
A ideia da Porsche é justamente essa: combinar soluções novas com tecnologias já existentes.
A tecnologia ainda pode demorar para chegar às ruas
Vale lembrar que, por enquanto, estamos falando de uma patente registrada, não de um sistema já confirmado para produção.
Isso significa que a tecnologia ainda está em fase de desenvolvimento e testes. Muitas ideias patenteadas nunca chegam ao mercado.
Mesmo assim, projetos como esse mostram algo importante: as fabricantes continuam buscando soluções criativas para tornar os carros menos poluentes sem abandonar totalmente os motores tradicionais.
E se esse sistema realmente chegar aos carros da Porsche no futuro, pode representar uma nova etapa na evolução dos motores a combustão.


